英伟达AR眼镜新突破:无背光技术带来自然轻盈的户外体验
时间:2025-01-23
小编:2D2D手游网
阅读:
在手机上看
手机扫描阅读
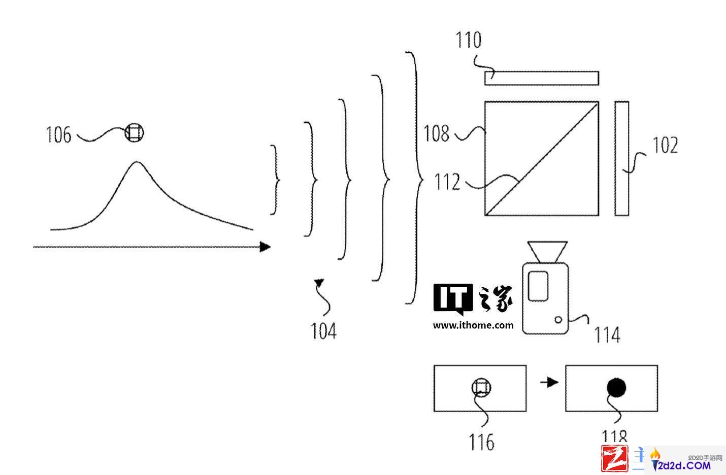
英伟达公司在增强现实技术领域取得了重大突破,近日,美国商标和专利局正式公示了一项由该公司获得的全新专利——无背光增强现实数字全息术。这项专利有望为AR眼镜领域带来革命性的变化。

英伟达在专利中展示的系统和技术整合能力,令人印象深刻。通过优化AR眼镜的显示技术和控制系统,英伟达不仅提升了设备的户外性能,还为用户带来了更自然的视觉体验。这一突破性的创新,有望重塑AR眼镜的未来,推动AR技术在更广泛的领域得到应用。

英伟达还展示了该专利技术的其他优势,如显著提升的户外显示效果和卓越的视觉体验。这些优势使得AR眼镜在户外使用时更加实用和舒适,为用户带来了全新的AR体验。英伟达的这一创新,不仅解决了AR技术在户外应用中的难题,还为AR技术的普及应用奠定了坚实的基础。
相关阅读 更多
-
免费看电视在线高清全集:畅享海量影视内容无需付费!随着互联网的快速发展,越来越多的人开始选择在网上观看自己喜欢的电视节目和电影。而“免费观看电视在线高清全集”作为一种便捷的观看方式,正在成为许多观众的首选。通过一些时间:2025-01-23 -
《永劫无间手游》匕首连招攻略一览:匕首连招技巧解析匕首是《永劫无间手游》中的近战武器之一,特点是十分灵活机动性极强,除了对战外跑图也是一绝因此也被一些玩家称作交通工具,接下来就让我们一起了解一下永劫无间手游匕首连招攻时间:2025-01-23 -
《少年西游记》高级神将获取方法:如何获得高级神将少年西游记高级神将怎么获取?如果大家在少年西游记游戏前期就可以获得高级神将的话,对顺利度过前期很有帮助,大家要知道培养一个神将所需要消耗的资源是非常多的,那么前期有哪些时间:2025-01-23 -
《刃境》萌新前期开荒攻略:轻松上手的开荒技巧《刃境》是一款快节奏拳拳到肉的roguelike动作手游,你将作为初入异世界的冒险者参与到抵抗魔王的恢弘史诗中!玩家可以根据自己的冒险需求和分配策略,组合出最具有战斗力的伙伴时间:2025-01-23 -
《原神》异色三连星打法攻略:如何高效利用异色三连星《原神》异色三连星是三个不同元素的愚人众,这三个怪物都有护盾,同伴被击败后,其他怪物的伤害或生命值会得到提升,有很多小伙伴对此还不太清楚,接下来就让小编为大家详细地介绍一时间:2025-01-23
热门阅读
-
欧亚尺码专线与欧洲B1B1:差异、优劣与未来发展
阅读:544139
-
国产最好的a级suv88814-国产最好的a级suv88814超清中文版免费版
阅读:359687
-
中韩乱幕日产无线码一区-中韩乱幕日产无线码一区破解版v7.8.9
阅读:235605
-
四叶草m码和欧洲码的区别18:时尚服装的尺码区别介绍
阅读:181386
-
精产品自偷自偷综合入口-精产品自偷自偷综合入口v5.2有效版
阅读:113341










